Запасные части и кодировка
СИСТЕМА СМАЗКИ компрессоров МСН-20 - МСН-24

|
|
|
1.1 1.2 |
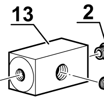
2 |
3 |
|
|
|
4 |
5 |
6 |
|
|
|
7 |
8 |
9 |
|
|
|
10 |
11 |
12 |
|
|
|
13 |
14 |
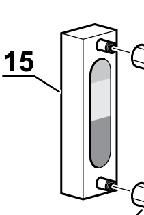
15 |
|
|
|
16 |
17 |
18 |
|
|
|
19 |
20 |
21 |
|
|
|
22 |
23 |
24 |
|
|
|
25 |
26, 27, 28 |
29 |
|
|
|
30 |
31 |
32 |
|
|
|
33, 34 |
35 |
36 |
Спецификация
№ |
КОД |
НАЗВАНИЕ |
| KIT1 |
36-06-006/R |
комплект масляного фильтра |
| 1.1 |
13-00-0061 |
уплотнительное кольцо |
| 1.2 |
36-06-006 |
маслянный фильтр |
| 2 |
36-05-017 |
соединитель |
| 3 |
36-06-003 |
крепежный болт |
| 4 |
36-06-004 |
крышка маслянного фильтра |
| 5 |
36-06-001 |
соединительная трубка |
| 6 |
36-05-027 |
соединитель |
| 7 |
36-06-007 |
корпус маслянного фильтра |
| 8 |
36-06-008 |
соединитель |
| 9 |
36-06-009 |
маслянная помпа |
| 10 |
36-06-010 |
крепежный болт |
| 11 |
36-06-011 |
соединитель |
| 12 |
36-06-012 |
соединительная трубка |
| 13 |
36-06-013 |
распределитель |
| 14 |
36-05-039 |
крепежный болт |
| 15 |
13-04-0229 |
уровень масла |
| 16 |
36-06-032 |
соединительная трубка |
| 17 |
13-00-0144 |
соединитель |
| 18 |
36-06-018 |
штуцер |
| 19 |
36-06-019 |
соединитель масляной помпы |
| 20 |
36-06-020 |
затяжной винт |
| 21 |
36-06-021 |
пластина |
| 22 |
36-06-022 |
фланец |
| 23 |
13-04-0322/AIR |
шланг |
| 24 |
36-07-003 |
соединитель |
| 25 |
36-05-00200 |
шланг |
| 26 |
36-00-0700 |
датчик давления масла |
| 27 |
36-07-006 |
крепежный болт |
| 28 |
DA003I |
крепежная гайка |
| 29 |
RACC/E2110002 |
сединитель |
| 30 |
24-02-0120 |
шланг |
| 31 |
24-02-0115 |
шланг |
| 32 |
13-04-0218/G |
штуцер |
| 33 |
24-06-002/P |
антивоспламеняющий шнур |
| 34 |
24-06-002 |
датчик уровня |
| 35 |
RE2ST/11 |
пружина |
| 36 |
GUAR1319 |
соединительное кольцо |
