Запасные части и кодировка
3-я стадия сжатия компрессоров МСН-3 - МСН-5

|
|
|
1 |
2 |
3 |
|
|
|
4 |
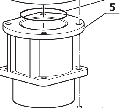
5 |
6 |
|
|
|
7 |
8 |
9 |
|
|
|
10 |
11 |
12 |
|
|
|
13 |
14 |
15 |
|
|
|
16 |
17 |
18 |
|
|
|
19 |
20 |
21 |
|
|
|
22 |
23 |
24 |
|
|
|
25 |
26 |
27 |
| 1 |
13-00-0175E |
штуцер |
| 2 |
05-01-0111 |
втулка поршня 3-й стадии |
| 3 |
13-00-0110 |
стопорное кольцо |
| 4 |
13-03-0120 |
поршень 3-й стадии |
| 5 |
05-03-0190 |
корпус толкателя 3-й стадии |
| 6 |
13-00-0039 |
уплотнительное кольцо |
| 7 |
05-02-0017 |
корпус цилиндра 3-й стадии |
| 8 |
13-03-0016 |
крепежный винт цилиндра |
| 9 |
13-00-0018 |
крепежная гайка цилиндра |
| 10 |
05-01-011 |
крепежная пластина головки 3 стадии |
| 11 |
VITE0820 |
крепежный винт |
| 12 |
13-03-0126 |
поршень 3-й стадии |
| 13 |
13-03-0124 |
кольца 3-й стадии |
| 14 |
13-03-0125 |
цилиндр 3-й стадии |
| 15 |
13-03-0123 |
уплотнительное кольцо |
| 16 |
13-03-0020 |
входящий клапан 3-й стадии |
| 17 |
13-03-0027 |
клапанная головка |
| 18 |
13-03-0029 |
уплотнительное кольцо |
| 19 |
13-03-0028 |
выходящий клапан 3-й стадии |
| 20 |
13-03-0030 |
клапанная крышка |
| 21 |
13-03-0034 |
регулирующий винт |
| 22 |
13-03-0033 |
уплотнительное кольцо |
| 23 |
13-00-0032 |
заглушка регулирующего винта |
| 24 |
13-00-0031 |
крепежный винт |
| 25 |
13-00-0021 |
фитинг |
| 26 |
13-00-0019 |
отводная трубка |
| 27 |
13-04-0225 |
штуцер |
